硅磚有良好的高溫性能,是大型高溫熱風爐普遍采用的一種優質耐火材料。但硅磚的熱穩定性差,給熱風爐的操作和維護帶來很大困難。硅磚的低溫特性對熱風爐的烘爐提出了特殊要求,硅磚熱風爐烘爐技術由此而變得復雜化。為了滿足硅磚爐頂熱風爐的烘爐要求,必須設置一種特殊功能的烘爐裝置(加熱爐)。
硅磚熱風爐的烘爐
硅磚物體的特性
硅磚的主要成分是Si02,具有優良的高溫性能。同時,Si02也具有多晶轉化的特性,在600℃以下發生晶型轉變,體積膨脹。特別是200〜400°C的范圍內,硅磚膨脹系數最大,結構最不穩。硅磚膨脹率見表1。
表1 不同溫度下硅磚的膨脹率,%
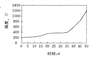
因此,烘爐前要根據硅磚的這一特性精確繪制熱風爐拱頂升溫曲線,嚴格控制低溫區升溫速度,保證足夠的烘爐時間。烘爐初期的升溫速度為8〜10C/d,逐步增大到10〜15 C/d,升溫速度偏差控制在±1C/d。典型的硅磚熱風爐烘爐曲線如圖1所示,按這條曲線進行烘爐,可以防止硅磚的晶型劇變,避免熱應力破壞。烘爐過程中要求嚴格控制升溫速度、溫度波動范圍等。要實現這些要求,用熱風爐本身的燃燒器進行烘爐不能達到,必須設置專門的燃燒裝置即爐外加熱爐(前爐)。

圖1 典型的硅磚熱風爐烘爐曲線
對加熱爐性能的要求
加熱爐的性能應能實現大范圍溫度調節和精確的升溫速度控制。由于烘爐溫度變化范圍大(拱頂溫度從20〜1000℃),加之熱風爐內襯體積大,熱容量變化大,因此加熱爐必須設計有一定數量的特殊燒嘴。燒嘴的煤氣量以及產生的廢氣量可以靈活調節,可實現燃燒煙氣溫度的準確調節,以滿足烘爐工藝要求。對熱風爐下部,爐篦子的溫度應加以可靠控制。熱風爐烘爐時間長,烘爐以后要進行試壓和保溫,為防止爐篦子溫度超過允許范圍,對爐篦子和支柱必須采取冷卻保護措施,我廠一般采用反吹風的方法進行下部冷卻,來保持廢氣溫度不超過規定值。加熱爐是一個臨時的非生產性設施,設計建造時應考慮便于熱態拆除。
烘爐特點
(1)加熱爐高溫煙氣是從高爐煤氣入口進入熱風爐燃燒室的,為防止煙氣溫度過高, 燒壞煤氣燃燒閥,在煤氣燃燒閥后,在煙氣入口處砌擋墻隔熱。
(2)加熱爐的結構、安裝和制作簡單,操作方便,費用低,且便于熱態拆除。
(3)利用反吹風的方法保證爐頂溫度,控制廢氣溫度,使爐篦子和支柱冷卻。
(4)熱風爐砌體不與火焰直接接觸,防止局部過熱,破壞燃燒室。
烘爐實踐
自1985年1號高爐采用硅磚爐頂熱風爐以后,包鋼煉鐵廠相繼在3、4號高爐和1996年1號高爐中修后使用的新熱風爐也采用桂磚,所以在硅磚熱風爐供爐方面有一定的經驗和技術。1號高爐熱風爐自1985年3月26日投產至1996年10月停爐檢修,熱風爐拱頂基本完好,局部雖有裂紋,但沒有出現塌落現象。這說明硅磚熱風爐烘爐是成功的。
硅磚熱風爐烘爐情況如下:1號高爐熱風爐烘爐計劃時間56天,實際63天,因當時高爐本體未交工,故采用上燒下吹的方法來保證爐頂溫度、控制廢氣溫度,這樣維持了5個多月直到高爐投產。3號高爐熱風爐烘爐時間計劃50天,實際51天,是全廠烘爐最理想的一次,實際烘爐曲線與計劃曲線基本吻合,正負溫差小于1.5℃。4號高爐熱風爐烘爐時間為50天。1號高爐新熱風爐計劃烘爐時間為45天,因工期緊,只用37天就與高爐同期投產。下面是包鋼3號高爐熱風爐烘爐的情況。烘爐分為以下三個階段:
(1)第一階段,就是控制焦爐煤氣燃燒量,使升溫速度緩慢上升。即20〜120℃升溫8天,恒溫1天;120〜216℃升溫8天(每天升溫12 ℃),恒溫1天;216〜411℃升溫13天(每天升溫15℃),恒溫1天;350℃時,啟動臨時助燃風機,加二次風,加快升溫速度;411〜801℃,每天升溫30℃,恒溫1天。這一階段是硅磚熱風爐烘爐的關鍵:初期要固定一次空氣量,通過調節煤氣量來控制加熱爐煙氣溫度,煤氣量的調節可以通過調整加熱爐燒嘴數目與調節每個燒嘴的空氣和煤氣比例來實現。當拱頂溫度升到400℃以上時,用二次空氣調節拱頂溫度和廢氣溫度,并增加燒嘴數目,使加熱爐爐膛溫度達到1300〜1400℃,熱風爐拱頂溫度升至700℃。為控制爐頂溫度的上升速度,可調節煙道閥開啟程度,這樣可保證升溫偏差合理。當拱頂溫度上升到800℃以上時,進入第二階段。
(2)第二階段,也就是拆除加熱爐的過程。此階段要速度快,防止高溫氣體外溢而導致拱頂溫度和各部溫度下降。3號高爐每座加熱爐拆除時間在2〜3h,表2是加熱爐拆除后各熱風爐的拱頂溫度和廢氣溫度。
(3)第三階段,即送入高爐煤氣燒爐,準備給高爐送風。
烘爐期間,如果在熱風爐爐頂安裝兩個氣體導出管(燃燒室、蓄熱室各1個)將熱風爐蒸汽排出,會取得更好的烘爐效果。
表2加熱爐拆除后各熱風爐拱頂、廢氣溫度,℃

硅磚熱風爐的維護
硅磚在600℃以下,體積穩定性不好。為了維護好硅磚熱風爐,要求硅磚砌體溫度不低于600℃。因此,硅磚熱風爐的維護問題,主要是硅磚砌體的保溫問題。
硅磚砌筑高度對維護的影響
硅磚的砌筑高度選擇較為重要,太矮不能充分發揮硅磚熱風爐的效果,太高則不利于硅磚熱風爐的維護。測溫結果表明,硅磚的砌筑高度應主要考慮硅磚熱風爐的保溫,爐頂溫度應保持在750℃左右,最低也應大于600℃(硅磚界面溫度)。合理硅磚局度為5m左右(指大墻)。
蛙磚熱風爐的保溫
硅磚熱風爐的保溫主要是指在高爐停爐或熱風爐需要檢修時保持硅磚砌體溫度不低于600℃、廢氣溫度不大于400℃。1993年12月3號高爐熱風爐投產,送風4個月后,高爐擴容大修2個月。1994年4月1日〜6月1日,為了使熱風爐保溫工作能順利進行,停爐前設法將爐頂溫度提高,并將廢氣溫度降低到100℃左右。當爐頂溫度降到700℃時,開始燒爐,當爐頂溫度上升到1000〜1100℃時,停止燒爐,始終保持爐頂溫度不低于750℃,廢氣溫度在400℃以下。當高爐休風時間較長時,控制廢氣溫度的難度會增大。為了控制廢氣溫度,可采用助燃風機反吹風法來保持爐頂溫度不低于750℃、廢氣溫度不大于380℃。其方法如圖2所示。由圖可見,助燃空氣由蓄熱室底部的爐篦子支柱經蓄熱室、聯絡管、燃燒室、熱風閥、熱風主管排入大氣。熱風主管砌擋墻與高爐本體分開,不影響高爐施工。當拱頂溫度降到750℃時,就可采用強制燒爐,頂溫升到1000〜1100℃時,換爐送風冷卻,冷風量大約為200m3/min,風壓5kPa。4座熱風爐輪流燃燒送風,這樣既可保持拱頂溫度,同時也控制了廢氣溫度。
硅磚熱風爐的日常維護
(1)休風檢修時,應盡量縮短各人孔的敞開時間,防止硅磚砌體溫度大幅度下降。
(2)日常生產中,要經常注意熱風爐的燃燒情況,嚴禁出現助燃風機空轉現象。
(3)換爐、燒爐操作時,要嚴防大量冷空氣抽入爐內,使拱頂溫度下降。
(4)配置硅磚熱風爐的高爐,應有特設的休風倒流裝置,高爐休風時禁止用硅磚熱風爐倒流。

圖2 爐底吹風和反送風示意
結語
(1)由于硅磚砌體具有低溫體積膨脹的特殊性,硅磚熱風爐烘爐時必須設置加熱爐。
(2) 加熱爐燒嘴的設計要滿足煤氣量調節范圍大、調節靈活的要求,同時要結構簡單、操作方便、便于熱態拆除。
(3) 利用反吹風法可控制廢氣溫度。
(4) 在日常維護中,應保持硅磚砌體溫度不低于600℃。
(5) 配置硅磚熱風爐的高爐應有特設的休風倒流裝置,嚴禁用熱風爐倒流。